Terpopuler Rangkaian Las Listrik, Rangkaian Las
Poin pembahasan Terpopuler Rangkaian Las Listrik, Rangkaian Las adalah :
Terpopuler Rangkaian Las Listrik, Rangkaian Las. Semua ragam komponen yang digunakan di rangkaian las dibuat oleh "mesin induk" yang menghasilkan komponen mesin mereka sendiri. Baik itu komponen kecil dan kompleks maupun komponen besar dan berat, presisi manufaktur untuk komponen yang dibuat oleh rangkaian las meningkat dengan kecepatan yang bertambah. Sistem gerak linear THK membantu memberikan panduan sehingga presisi dan kecepatan ini dimungkinkan. rangkaian las dengan artikel Terpopuler Rangkaian Las Listrik, Rangkaian Las berikut ini

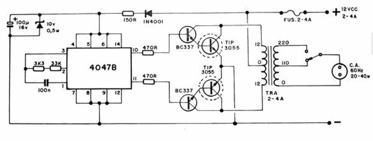
Skema irangkaian las listriki sederhana dengan trafo Sumber rangkaianelektronika.info

hobi elektronika Bagaimana Cara kerja mesin ilasi ilistriki Sumber abangelektronika.blogspot.com

Skema irangkaian las listriki sederhana dengan trafo Sumber rangkaianelektronika.info

Skema irangkaian las listriki sederhana dengan trafo Sumber rangkaianelektronika.info

Skema irangkaian las listriki sederhana dengan trafo Sumber rangkaianelektronika.info

Skema iRangkaiani Inverter iLasi iListriki Corelita Sumber corelita.com

hobi elektronika Kumpulan irangkaiani inverter perubah Sumber abangelektronika.blogspot.com

MODIFIKASI POWER SUPLAI iLASi iLISTRIKi NASACOMCENTER Sumber nasacomcenter.blogspot.com

hobi elektronika iRangkaiani sederhana inverter 12v dc Sumber abangelektronika.blogspot.com

hobi elektronika Kumpulan irangkaiani inverter perubah Sumber abangelektronika.blogspot.com

hobi elektronika Kumpulan irangkaiani inverter perubah Sumber abangelektronika.blogspot.com

Merubah Trafo Tidak CT Menjadi CT Support Play Sumber thehardheadfund.blogspot.com

Skema Robot Line Follower Pengertian dan Ir Sensor Code Sumber rangkaianelektronika.info

iRangkaian Las Listriki Trafo dan iLasi iListriki Inverter Sumber www.hoo-tronik.com

hobi elektronika irangkaiani elektronika inverter 40 watt Sumber abangelektronika.blogspot.com

Pengertian iLasi Argon Lengkap Beserta Peralatan dan Sumber www.pengelasan.net

SYOFYAN S BLOG iRANGKAIANi MOTOR iLISTRIKi 3 FASA TERHUBUNG Sumber syofyanchan.blogspot.com

hobi elektronika Kumpulan irangkaiani inverter perubah Sumber abangelektronika.blogspot.com

iRangkaiani Trafo iLasi Inverter iRangkaiani Elektronika Sumber blograngkaianelektronika.wordpress.com

Skema irangkaian las listriki sederhana dengan trafo Sumber rangkaianelektronika.info

hobi elektronika iRangkaiani power supply 5 volt termudah Sumber abangelektronika.blogspot.com

CONTOH iRANGKAIANi iLISTRIKi PMM masarifbudi Sumber masarifbudi.wordpress.com

iLasi iListriki Sumber cissink24.de

Temukan yang Anda butuhkan disini Pengelasan Dalam Air Sumber satriopage.blogspot.com

CONTOH iRANGKAIANi iLISTRIKi PMM masarifbudi Sumber masarifbudi.wordpress.com

HOBI ELEKTRONIKA Perbaiki Mesin iLasi PORTO PD85 Sumber hobi-elektronika.blogspot.com

Kumpulan wong nggedabrus brengkok Teknik iLasi iListriki dan Sumber brengkokk.blogspot.com

iRangkaiani mesin ilasi ilistriki sistem ac matic inverter Sumber www.youtube.com

Harga Trafo Inverter dan Alat iLasi iListriki Sumber belajarelektronika.net

Kumpulan wong nggedabrus brengkok Teknik iLasi iListriki dan Sumber brengkokk.blogspot.com

Servis Mesin iLasi iListriki Cara Mudah Servis Elektronika Sumber fanselektronic.blogspot.co.id

MEMAHAMI BAGIAN BAGIAN iLASi INVERTER Sumber tukangserviselektro.blogspot.com

Cara Membuat iRangkaiani iListriki Seri animegue com Sumber animegue.com

Yuk Mengenal Komponen Mesin iLasi dan Cara Memperbaiki Mesin Sumber daddydaze.net

DIDYKELEKTRO PEMAHAMAN DAN LANGKAH PERBAIKAN KERUSAKAN Sumber didykelektro.blogspot.com
skema las listrik gacun, skema pwm mesin las, buat las listrik dari gacun, cara membuat las listrik menggunakan trafo, komponen mesin las inverter, cara membuat mesin las listrik 450 watt, cara membuat las listrik dari trafo 5 ampere, cara membuat las listrik menggunakan trafo 5 ampere,
Terpopuler Rangkaian Las Listrik, Rangkaian Las. Semua ragam komponen yang digunakan di rangkaian las dibuat oleh "mesin induk" yang menghasilkan komponen mesin mereka sendiri. Baik itu komponen kecil dan kompleks maupun komponen besar dan berat, presisi manufaktur untuk komponen yang dibuat oleh rangkaian las meningkat dengan kecepatan yang bertambah. Sistem gerak linear THK membantu memberikan panduan sehingga presisi dan kecepatan ini dimungkinkan. rangkaian las dengan artikel Terpopuler Rangkaian Las Listrik, Rangkaian Las berikut ini
Skema irangkaian las listriki sederhana dengan trafo Sumber rangkaianelektronika.info
Rangkaian Elektronika Review Rangkaian Las Listrik
Rangkaian las listrik biasanya difungsikan untuk melakukan sambungan dari logam dengan bahan logam Cara atau teknik penyambungan rangakain las listirk ini dengan cara melakukan proses pencarian antara logam induk dan juga logam pengisi hingga menghasilkan sambungan yang kontinyu Dan proses ini bisa menggunakan tekanan atau tidak sama sekali

hobi elektronika Bagaimana Cara kerja mesin ilasi ilistriki Sumber abangelektronika.blogspot.com
Skema Rangkaian Inverter Las Listrik Rangkaian Elektronika
Skema Rangkaian Inverter memiliki fungsi untuk mengubah dan juga melakukan konversi dari tegangan rendah yang menggunakan sumber DC direct current menjadi ke tegangan tinggi yang bersumber kepada tegangan AC alternating current Rangkaian inverter ini biasanya akan mengubah dari tegangan sebesar 12 V menjadi 220 V yang biasa juga disebut 12V to 220V inverter
Skema irangkaian las listriki sederhana dengan trafo Sumber rangkaianelektronika.info
Rangkaian Las Listrik Rangkaian Elektronika
02 10 2013AA Rangkaian las listrik biasanya difungsikan untuk melakukan sambungan dari logam dengan bahan logam Cara atau teknik penyambungan rangakain las listirk ini dengan cara melakukan proses pencarian antara logam induk dan juga logam pengisi hingga a

Skema irangkaian las listriki sederhana dengan trafo Sumber rangkaianelektronika.info
Teknik Las Listrik dan Rangkaian Las Listrik Yasmu i
18 09 2012AA Las busur listrik atau pada umumnya disebut las listrik termasuk suatu proses penyambungan logam dengan menggunakan tenaga listrik sebagai sumber panas Jadi surnber panas pada las listrik ditimbulkan oleh busur api arus listrik antara elektroda las dan benda kerja Benda kerja merupakan bagian dari rangkaian aliran arus listrik las
Skema irangkaian las listriki sederhana dengan trafo Sumber rangkaianelektronika.info
Rangkaian Las Listrik Rangkaian Elektronika
02 10 2013AA Rangkaian las listrik biasanya difungsikan untuk melakukan sambungan dari logam dengan bahan logam Cara atau teknik penyambungan rangakain las listirk ini dengan cara melakukan proses pencarian antara logam induk dan juga logam pengisi hingga menghasilkan sambungan yang kontinyu Dan proses ini bisa menggunakan tekanan atau tidak sama sekali
Skema iRangkaiani Inverter iLasi iListriki Corelita Sumber corelita.com
komputer Teknik Las Listrik dan Rangkaian Las Listrik
09 09 2012AA Las busur listrik atau pada umumnya disebut las listrik termasuk suatu proses penyambungan logam dengan menggunakan tenaga listrik sebagai sumber panas Jadi surnber panas pada las listrik ditimbulkan oleh busur api arus listrik antara elektroda las dan benda kerja Benda kerja merupakan bagian dari rangkaian aliran arus listrik las

hobi elektronika Kumpulan irangkaiani inverter perubah Sumber abangelektronika.blogspot.com
Skema rangkaian las listrik sederhana dengan trafo
Cara membuat trafo las listrik sendiri memang tidak mudah setidaknya kita harus memahami seperti apa skema rangkaian las listrik sederhana buatan sendiri sehingga tidak bingung menemukan apa yang kiranya cocok dijadikan sebagai bahan pertimbangan sebelum memilih jenis mesin las yang bagus entah itu buatan sendiri atau membeli yang sudah jadi

MODIFIKASI POWER SUPLAI iLASi iLISTRIKi NASACOMCENTER Sumber nasacomcenter.blogspot.com
Bagaimana Cara kerja mesin las listrik Serta rangkaian
sebenarnya sebuah mesin las sejatinya adalah sebuah adaptor penurun tegangan Sebuah mesin las umumnya mengeluarkan output sekitar 40 volt dengan daya yang besar hingga mampu mengeluarkan ratusan ampere Dengan kemampuan daya besar ini las listrik bisa melelehkan kawat las

hobi elektronika iRangkaiani sederhana inverter 12v dc Sumber abangelektronika.blogspot.com
Rangkaian Mesin Las Listrik YouTube
23 11 2012AA LAS LISTRIK Las busur listrik adalah salah satu cara menyambung logam dengan jalan menggunakan nyala busur listrik yang diarahkan ke permukaan logam yang akan disambung Pada bagian yang terkena busur listrik tersebut akan mencair demikian juga elektroda yang menghasilkan busur listrik akan mencair pada ujungnya dan merambat terus sampai habis

hobi elektronika Kumpulan irangkaiani inverter perubah Sumber abangelektronika.blogspot.com
PENGERTIAN LAS LISTRIK Teknik Pemesinan MACHINE

hobi elektronika Kumpulan irangkaiani inverter perubah Sumber abangelektronika.blogspot.com

Merubah Trafo Tidak CT Menjadi CT Support Play Sumber thehardheadfund.blogspot.com

Skema Robot Line Follower Pengertian dan Ir Sensor Code Sumber rangkaianelektronika.info

iRangkaian Las Listriki Trafo dan iLasi iListriki Inverter Sumber www.hoo-tronik.com

hobi elektronika irangkaiani elektronika inverter 40 watt Sumber abangelektronika.blogspot.com
Pengertian iLasi Argon Lengkap Beserta Peralatan dan Sumber www.pengelasan.net

SYOFYAN S BLOG iRANGKAIANi MOTOR iLISTRIKi 3 FASA TERHUBUNG Sumber syofyanchan.blogspot.com
hobi elektronika Kumpulan irangkaiani inverter perubah Sumber abangelektronika.blogspot.com
iRangkaiani Trafo iLasi Inverter iRangkaiani Elektronika Sumber blograngkaianelektronika.wordpress.com

Skema irangkaian las listriki sederhana dengan trafo Sumber rangkaianelektronika.info
hobi elektronika iRangkaiani power supply 5 volt termudah Sumber abangelektronika.blogspot.com
CONTOH iRANGKAIANi iLISTRIKi PMM masarifbudi Sumber masarifbudi.wordpress.com
iLasi iListriki Sumber cissink24.de

Temukan yang Anda butuhkan disini Pengelasan Dalam Air Sumber satriopage.blogspot.com
CONTOH iRANGKAIANi iLISTRIKi PMM masarifbudi Sumber masarifbudi.wordpress.com
HOBI ELEKTRONIKA Perbaiki Mesin iLasi PORTO PD85 Sumber hobi-elektronika.blogspot.com

Kumpulan wong nggedabrus brengkok Teknik iLasi iListriki dan Sumber brengkokk.blogspot.com

iRangkaiani mesin ilasi ilistriki sistem ac matic inverter Sumber www.youtube.com
Harga Trafo Inverter dan Alat iLasi iListriki Sumber belajarelektronika.net

Kumpulan wong nggedabrus brengkok Teknik iLasi iListriki dan Sumber brengkokk.blogspot.com

Servis Mesin iLasi iListriki Cara Mudah Servis Elektronika Sumber fanselektronic.blogspot.co.id
MEMAHAMI BAGIAN BAGIAN iLASi INVERTER Sumber tukangserviselektro.blogspot.com
Cara Membuat iRangkaiani iListriki Seri animegue com Sumber animegue.com
Yuk Mengenal Komponen Mesin iLasi dan Cara Memperbaiki Mesin Sumber daddydaze.net

DIDYKELEKTRO PEMAHAMAN DAN LANGKAH PERBAIKAN KERUSAKAN Sumber didykelektro.blogspot.com
loading...
0 Comments